Road drainage system comparison
With the increase in road users and the urban sprawl, engineers are challenged to design a road within a designated corridor that will allow the traffic to move efficiently and to ease congestion during peak periods. The confined space that the road is designed for must also incorporate a drainage system that effectively captures the runoff from the road surface during storms. This is to minimise the risk of ponding or runoff spreading into the traffic lane thereby creating hazards to the road users.
There are several ways in capturing the runoff from roads with different costs implications. The following is a comparison of the installed costs between three road drainage scenarios. This comparison is based on a 100m length of road which is relatively flat with a sag (low) point located centrally using:
- Kerb Inlet Pit & Pipe System – traditional drainage system (Figure 1.)
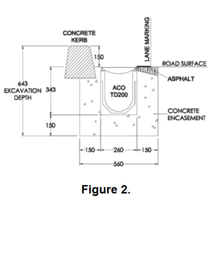
- ACO’s TraffikDrain TD200 System – grated trench drainage (Figure 2.)
- ACO’s KerbDrain QK200 System – integral kerb and drainage channel (Figure 3.)



Cost Comparison Results
| 1. | Kerb Inlet Pit & Pipe System | $47,000 | |
| 2. | ACO’s TraffikDrain TD200 System | $40,000 | 15% cheaper than Kerb Inlet Pit & Pipe |
| 3. | ACO’s KerbDrain QK200 System | $30,000 | 36% cheaper than Kerb Inlet Pit & Pipe |






